Philips MASTER GX22 MHN-SE 2000W - 956 Bianco Freddo | 400V - Miglior resa cromatica
- Spedizioni gratuite da 200 € IVA incl.Spedizioni gratuite da 164 € IVA esclusa
- Cliente commerciale? Acquisto su conto corrente
- Reso entro 14 giorni
Scheda tecnica
| SKU | 201580 | |
|---|---|---|
| EAN | 8718291548461 | |
| Marca | Philips | |
| Nome del fabbricante | MASTER MHN-SE 2000W/956 GX22 400V HO UNP | |
|
i
La quantità raccomandata si riferisce al numero di prodotti preconfezionati dal produttore. Quando si acquista questa quantità, consegniamo i prodotti nella confezione originale del produttore.
|
Quantità confezione bulk | 1 |
|
i
La nostra garanzia totale è inclusa nel prezzo del prodotto e copre sia i difetti nascosti che i difetti tecnici del prodotto che si sono verificati prima della consegna. Il periodo di garanzia varia a seconda del prodotto e va da 1 anno a un massimo di 7 anni.
|
Garanzia Totale di Lampadadiretta | 5 anni |
| Vecchia classe efficienza energetica | A | |
| Vita Media Utile (ora) | 3000 |
|
i
La tecnologia indica il modo in cui una fonte di luce funziona. L'esempio più conosciuto ed efficiente dal punto di vista energetico è il LED. Altre tecniche includono l'alogeno, la scarica di gas e il fluorescente.
|
Tecnologia | HID |
|---|---|---|
|
i
Il wattaggio indica quanta energia consuma una fonte di luce. Con l'illuminazione a LED il wattaggio è notevolmente più basso rispetto all'illuminazione convenzionale. Gli apparecchi LED con un wattaggio più alto hanno generalmente anche una maggiore intensità luminosa (numero di lumen).
|
Potenza Lampada | 2000 |
|
i
Con gli apparecchi dimmerabili si può rregolare l'intensità luminosa. Quando si abbassa la potenza della luce si consuma meno energia elettrica e si risparmia quindi sui costi energetici. Le lampade dimmerabili possono anche essere usate per creare un'atmosfera molto accogliente. Tieni presente che hai bisogno di un dimmer LED per regolare apparecchi LED.
|
Dimmerabile | Non dimmerabile |
|
i
L'attacco è quella parte della lampada che le permette di essere collegata al dispositivo. Consigliamo vivamente di scegliere una lampada con lo stesso attacco di quella che si sta utilizzando al momento. Gli attacchi più diffusi sono E14, E27 e GU10. Il numero che segue la lettera fornisce informazioni più precise sul tipo di attacco. L'attacco E27 è un attacco a vite grossa con un diametro di 27mm. Nelle lampade con attacco GU10 la distanza tra i due piedini (pin) è di 10 mm.
|
Attacco | GX22 |
|
i
Il codice colore è una combinazione di resa cromatica (CRI) e colore della luce (Kelvin). La prima cifra indica la resa cromatica (1 = resa del colore molto bassa, 9 = massima resa del colore), mentre la seconda e la terza si riferiscono al colore della luce. Esempio: il codice colore 830 indica una buona resa cromatica (8) e luce bianca calda (3000K). |
Codice Colore | 956 Bianco Freddo |
|
i
|
Colore della Luce (Kelvin) | 5600 Bianco Freddo |
|
i
La resa cromatica è nota anche come indice di resa cromatica (CRI) e indica la misura in cui una sorgente luminosa riproduce i colori rispetto ai colori reali alla luce del giorno. I prodotti con una buona (80-89 Ra) o eccellente (90-99 Ra) resa cromatica mostrano deviazioni minime nello spettro dei colori.
|
Indice di Resa Cromatica (Ra) | 90-99 - Perfetta resa cromatica |
|
i
Il colore della luce ti dice quale colore di luce emette l'illuminazione: bianco, colorato o UV. Per molti prodotti della nostra gamma, si tratta di bianco, disponibile da bianco molto caldo a bianco luce diurna (espresso in Kelvin). Con la luce colorata hai due opzioni: 1. Un colore fisso, come rosso o verde. 2. RGBW, che significa che puoi determinare tu stesso il colore della luce in qualsiasi momento: bianco o colorato.
|
Colore Chiaro | Bianco |
| Impostazione del Colore | Colore unico | |
|
i
Il numero di lumen (lm) è la resa luminosa di una fonte di luce. Più alto è il numero di lumen, più luce emette la fonte luminosa. Il wattaggio e il numero di lumen non sono collegati tra loro. Una lampada a LED con un basso wattaggio può avere un numero di lumen più alto di una lampada convenzionale con un alto wattaggio.
|
Flusso Luminoso (Lumen) | 227000 |
|
i
L'efficacia luminosa (lm/W) indica quanto efficientemente una fonte di luce usa l'energia. Si divide il numero di lumen per il wattaggio. Più alto è il numero, più efficiente è un prodotto in termini di consumo energetico. L'illuminazione a LED ha un rapporto lumen/Watt considerevolmente più alto dell'illuminazione convenzionale.
|
Efficienza (Lm/W) | 101 |
| Finitura lampada | Chiara | |
| Reattore Necessario | Sì | |
| Tipo di Prodotto | MHN-SE | |
|
i
L'illuminazione con sensore si accende solo quando riceve un segnale specifico. Ciò riduce i costi energetici. I sensori (integrati) reagiscono al buio (interruttore crepuscolare) e/o al movimento (sensore di movimento).
|
Tipo di sensore | Nessun sensore |
| EOC8 | 92877800 | |
|---|---|---|
|
i
Il filtro UV, o blocco UV, impedisce alla lampadina di emettere radiazioni UV. Le radiazioni UV possono causare lo scolorimento degli oggetti.
|
Filtro UV | Sì |
| Product Serie | Master |
|
i
È possibile che la lunghezza di questo articolo sia diversa da quella della vecchia fonte di luce. Di conseguenza, il nuovo articolo potrebbe non adattarsi all'apparecchio. Consigliamo di controllare sempre prima dell'acquisto.
|
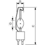
Lunghezza (mm) | 196 |
|---|---|---|
| Altezza (mm) | 196 | |
| Diametro (mm) | 41 | |
|
i
La forma te da una idea del diseño de una bombilla LED o convencional. Describe literalmente el diseño de la fuente de luz, por ejemplo, con forma de pera o vela. En algunos casos, el nombre de un producto también te da una idea de su tamaño. Un foco LED GU10 AR111, por ejemplo, tiene un diámetro de 111 mm.
|
Forma | Tubolare |
Descrizione Philips MASTER GX22 MHN-SE 2000W - 956 Bianco Freddo | 400V - Miglior resa cromatica
Informazioni utili
- Ballast necessario
- Ambito di applicazione
- Eliminazione graduale delle lampade a scarica di gas
- Lampadine a scarica di gas a LED
Ballast necessario
Una lampada a scarica di gas è realizzata in vetro di quarzo, che è in grado di resistere alle temperature molto elevate aggiunte all’interno della lampada quando accesa. Per utilizzare correttamente questo prodotto serve avere un ballast.
Ambito di applicazione
Le lampade a scarica di gas si possono ancora vedere in diversi luoghi, sia in ambienti chiusi che in spazi all'esterno. Un esempio sono i lampioni. Inoltre, le lampade a scarica di gas con un'elevata emissione luminosa (lumen) e una resa cromatica perfetta (90-99Ra) vengono utilizzate in ambienti con soffitti alti, come i capannoni delle fabbriche. Questo prodotto haattacco GX22 e indice CRI di 90-99 - Perfetta resa cromatica. Si può inoltre scegliere fra apparecchi dimmerabili e non dimmerabili.
Eliminazione graduale delle lampade a scarica di gas
Dal 2015 le lampade a scarica di gas sono state gradualmente eliminate. Questa decisione è stata presa dalla Commissione Europea, con l'obiettivo di rendere l'illuminazione più sostenibile. Di conseguenza, le lampade a scarica di gas come questa Tubolare non saranno più prodotte, ma sono vendute fino a esaurimento scorte.
Lampadine a scarica di gas a LED
Cerchi una lampada a scarica di gas ma in versione efficiente e sostenibile? Allora scegli una lampada a scarica di gas a LED!
Nota: se una lampada a scarica LED ha un voltaggio diverso (per esempio 110V), puoi quasi sempre utilizzare il ballast della tua vecchia lampada a scarica. È particolarmente importante che l'attacco della nuova lampadina sia uguale a quello di quella vecchia.
Il codice colore è una combinazione di resa cromatica (CRI) e colore della luce (Kelvin). La prima cifra indica la resa cromatica (1 = resa del colore molto bassa, 9 = massima resa del colore), mentre la seconda e la terza si riferiscono al colore della luce. Esempio: il codice colore 830 indica una buona resa cromatica (8) e luce bianca calda (3000K).